
Stropy gęstożebrowe
Stropy gęstożebrowe są najczęściej wykonywane jako prefabrykowano-monolityczne (wyjątek stanowi strop Ackermana). Składają się one z belek prefabrykowanych, pustaków wypełniających przestrzenie między belkami i warstwy nadbetonu ułożonego na budowie.
W celu zapobieżenia klawiszowaniu żeber, czyli ich niezależnemu uginaniu się, stropy gęstożebrowe wzmacnia się żebrami poprzecznymi (prostopadłymi do żeber nośnych), nazywanymi żebrami rozdzielczymi. Rozstaw tych żeber przyjmuje się w zależności od wartości charakterystycznej obciążeń zmiennych. W tej wartości uwzględnia się rozłożone równomiernie obciążenie zastępcze od ścian działowych. Należy zaznaczyć, że wymagania dotyczące rozstawu żeber rozdzielczych zależą od rodzaju stropu i są podawane w aprobatach technicznych lub norm dotyczących danego stropu.
Rozstaw żeber rozdzielczych w stropach gęstożebrowych zależy od wartości charakterystycznej obciążenia zmiennego (wraz z zastępczym obciążeniem od ścian działowych), kN/m²:
q ≤ 3,0
- Rozpiętość stropu z wypełnieniem sztywnym i trwałym większa niż: 6,0 m
- Odstęp między żebrami rozdzielczymi w świetle nie większy niż: żebra w połowie rozpiętości
3,0 < q ≤ 4,0
- Rozpiętość stropu z wypełnieniem sztywnym i trwałym większa niż: 5,0 m
- Odstęp między żebrami rozdzielczymi w świetle nie większy niż: 4,0 m
4,0 < q ≤ 6,0
- Rozpiętość stropu z wypełnieniem sztywnym i trwałym większa niż: 4,5 m
- Odstęp między żebrami rozdzielczymi w świetle nie większy niż: 3,5 m
q > 6,0
- Rozpiętość stropu z wypełnieniem sztywnym i trwałym większa niż: 4,0 m
- Odstęp między żebrami rozdzielczymi w świetle nie większy niż: 3,0 m
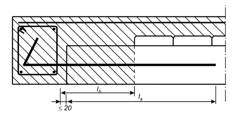
Zbrojenie żeber rozdzielczych powinno stanowić co najmniej dwa pręty, górny i dolny, zdolne do przenoszenia siły nie mniejszej niż l_i・40 kN (l_i - rozstaw żeber rozdzielczych). Pręty górne i dolne łączy się strzemionami o średnicy 6 mm i rozstawie odpowiadającym osiowemu rozstawowi żeber stropów.

Rys. 1. Żebro rozdzielcze stropu gęstożebrowego
Jeżeli stropy gęstożebrowe są projektowane jako swobodnie podparte, a na podporach nie mają zapewnionej pełnej swobody obrotu przekroju, to powinny być wyposażone w górne zbrojenie na podporach. Pole przekroju tego zbrojenia nie może być mniejsze niż 20% pola przekroju dolnego zbrojenia w przęśle. Górne zbrojenie przy podporze powinno być zdolne do przeniesienia siły rozciągającej co najmniej 40 kN na metr szerokości stropu. Zbrojenie powinno być zakotwione na podporze i połączone ze zbrojeniem górnym stropu.
W przypadku większości stropów gęstożebrowych stosowanych w praktyce nie jest konieczne przeprowadzanie szczegółowych obliczeń. Określa się jedynie wartości obciążeń działających na te stropy i na tej podstawie dobiera się odpowiednie elementy stropów.
Usytuowanie ścian działowych
Pod ścianami działowymi usytuowanymi prostopadle do belek stropowych nie wymaga się wykonywania dodatkowych wzmocnień. Pod ściankami działowymi, usytuowanymi równolegle do belek stropowych, należy wykonać wzmocnione żebra stropowe. Wzmocnione żebra stropowe mogą być wykonane przez ułożenie obok siebie dwóch belek lub – jeżeli zachodzi taka potrzeba – przez wykonanie w stropie belki żelbetowej, ze zbrojeniem według obliczeń statycznych.
Strop Ackermana

Rys. 2 Strop Ackermana: a) rzut aksonometryczny, b) przekrój poprzeczny, c) obliczeniowy przekrój żebra, d) żebro pod ścianą działową [1]
Strop Akermana to monolityczna konstrukcja wypełniona ceramicznymi pustakami. Pustaki mogą mieć różne wysokości: 150, 180, 200 oraz 220 mm, a także różne długości: 195 mm (odmiana 200) i 295 mm (odmiana 300). Podczas budowy stropu pustaki powinny być układane tak, aby w sąsiednich pasmach były przesunięte o połowę swojej długości.
Żebra stropu zbroi się prętami dobranymi według obliczeń. W przypadku konieczności przeniesienia znacznych sił poprzecznych przy podporze można pustaki przy podporze zastąpić układanymi na płask cegłami dziurawkami. Pod ściany działowe ustawiane wzdłuż żeber stropu stosuje się żebra o zwiększonych wymiarach (por. rys. 8d)

Rys. 3. Warianty zbrojenia żebra jednoprzęsłowego stropu Ackermana [1]
Belkowo pustakowe systemy stropowe
Gęstożebrowe stropy prefabrykowano-monolityczne składają się z prefabrykowanych belek, pustaków ceramicznych lub betonowych umieszczonych pomiędzy tymi belkami oraz ewentualnie warstwy nadbetonu układanej na miejscu, która może (lub nie) pełnić funkcję płyty ściskanej. Elementy tego typu stropów są przedmiotem norm [3, 4, 5].
Belka to liniowy element konstrukcyjny o niewielkim polu przekroju poprzecznego, wykonany z betonu zbrojonego lub sprężonego, w całości lub częściowo prefabrykowany. Belka może zawierać elementy, które wpływają (lub nie wpływają) na jej nośność, takie jak dolna osłona ceramiczna czy obudowa ceramiczna.

a) belka odwrócona T

b) belka typu I

c) belki ze zbrojeniem kratownicowym

d) belki z osłoną ceramiczną
Rys. 4 Przykłady belek stropowych [3]

a) zbrojenie kratownicowe

b) zbrojenie z pętli
Rys. 5. Przykłady zbrojenia łączącego [3]
Szczegóły podparcia belek i zakotwienia zbrojenia
Podpory montażowe
Wymagany rozstaw podpór montażowych powinien być określony w dokumentacji stropu. Orientacyjnie w zależności od rozpiętości stropów należy stosuje się podpory montażowe w liczbie 1,2 lub 3 sztuki. Podpory montażowe należy umieszczać pod węzłami pasa dolnego kratownicy. Zaleca się wykonywanie stropów gęstożebrowych ze wstępnym ugięciem odwrotnym 10-15 mm dla stropów o rozpiętościach w świetle podpór 4,6 m i większej.
Podparcie bezpośrednie
Belki powinny być podparte na elementach konstrukcyjnych.
Jeżeli belki mają na końcach wystające zbrojenie (o długości a), minimalna długość podparcia belki w fazie przejściowej b powinna być następująca (por. rys.12):
Oparcie na elemencie żelbetowym lub stalowym:
- Klasa A: b ≥ 20 mm
- Klasa B: b ≥ mm
Oparcie na murze: b ≥ 50 mm
Z wyjątkiem przypadków wyjątkowych długość zakotwienia na podporze a + b powinna wynosić co najmniej 100 mm.
Jeżeli belki nie mają na końcach wystającego zbrojenia, minimalna długość podparcia belki powinna wynosić minimum 60 mm (por. rys. 6b).
W przypadku belek ze zbrojeniem kratownicowym, węzły dolnego pasa powinny znajdować się w obrębie podparcia lub w odległości a, liczonej od wewnętrznej krawędzi podparcia, nie większej niż 10 cm lub na krawędzi podpory (por. rys. 6c).

a) belki z wystającym zbrojeniem

b) belki bez wystającego zbrojenia

c) belki ze zbrojeniem kratownicowym, 1 - położenie dolnego węzła, 2 - ≤ 10 cm lub węzeł w obrębie podparcia.
Rys. 6. Rodzaje podparcia bezpośredniego [3]
Podparcie pośrednie
Jeżeli podczas budowy długości podparcia nie spełniają wymagań dla podparcia bezpośredniego, należy umieścić tymczasową podporę wzdłuż stałej podpory w odległości nie większej niż 650 mm od wewnętrznej krawędzi tej podpory.
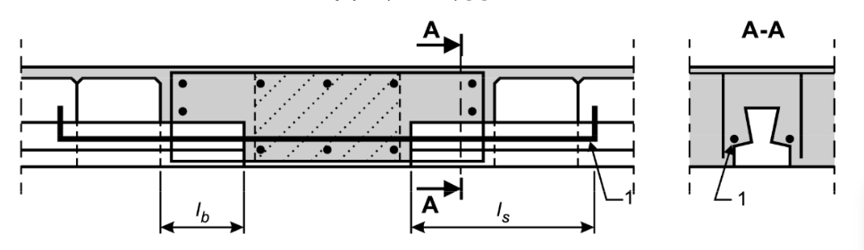
Jeżeli długość zakotwienia nie jest wystarczająca, należy zastosować kotwienie belki na podporze, jak pokazano na odpowiednich rysunkach (por. rys. 14, 15, 16).

Rys. 7. Wzdłużna podpora tymczasowa [3]

Rys. 8. Podparcie pośrednie - przypadek z wystającym zbrojeniem (zasada) [3], 1 - strzemiona, 2 - chropowaty koniec belki, 3 - a ≥ długość zakotwienia.

Rys. 9. Podparcie pośrednie - przypadki z dodatkowym zbrojeniem [3]. po lewej - przypadek ze zbrojeniem kratownicowym, po prawej - przypadek ze zbrojeniem

Rys. 10. Podparcie pośrednie - przypadek bez wystającego zbrojenia (zasada) [3]. ls - projektowana długość zakładki kotwiącej wg EN 1992-1-1:2004, 8.7.3

Rys. 11 Oparcie przez wbudowanie belki na podciągu - belki z wystającym zbrojeniem (zasad) [3], 1 - strzemiona, 2 - chropowata powierzchnia na końcu belki.

Rys. 12 Oparcie przez wbudowanie belki w płaszczyźnie stropu - belki z wystającym zbrojeniem (zasada) [3], 2 - chropowata powierzchnia na końcu belki.

Rys. 13. Opacie przez wbudowanie belki bez wystającego zbrojenia na podciągu skrajnym (zasada) [3]

Rys. 14. Opacie przez wbudowanie belki bez wystającego zbrojenia na podciągu pośrednim (zasada) [3], 1 - zbrojenie dodatkowe
Najpopularniejsze systemy stropów gęstożebrowych stosowanych w Polsce

Rys. 15. Strop Teriva

Rys. 16. Strop Fert

Rys. 17. Strop Porotherm

Rys. 18. Strop DZ
Wieńce i balkony
Wieńce stosuje się na każdej kondygnacji na poziomie stropów, wzdłuż wszystkich ścian konstrukcyjnych oraz obwodu budynku. Tworzą one rodzaj pierścienia wzmacniającego stropy, zapobiegając m.in. pękaniu ścian w przypadku nierównomiernego osiadania. Wykonuje się je jako żelbetowe, zbrojąc podłużnie 3 lub 4 prętami ze stali klasy od A-0 do A-III, połączonymi strzemionami o średnicy 4,5 lub 6 mm (stosuje się 3-4 strzemiona na każdy metr długości wieńca).
Zbrojenie wieńców ścian lub belek, na których opierają się stropy, powinno być zdolne do przeniesienia siły rozciągającej F₁, której wartość zależy od wysokości budynku.
- W budynkach o wysokości do 8 kondygnacji (włącznie), F₁ powinno wynosić co najmniej l • 15 kN/m oraz F₁ ≥ 90 kN.
- W budynkach o wysokości większej niż 8 kondygnacji, F₁ powinno wynosić co najmniej l • 20 kN/m oraz F₁ ≥ 135 kN.
Gdzie l to długość wieńca lub belki, na której opiera się strop (w metrach).
Zbrojenie wieńców ścian lub belek, na których opierają się stropy, powinno być zdolne do przeniesienia siły rozciągającej co najmniej F₁ = 90 kN. W celu zminimalizowania ryzyka ewentualnych szkód spowodowanych przez wyjątkowe zdarzenia, należy w stropach uwzględnić zbrojenie łączące, które zapobiegnie lokalnym uszkodzeniom spowodowanym silnym uderzeniem lub wybuchem i umożliwi powstanie wtórnego ustroju nośnego po pojawieniu się lokalnego uszkodzenia.
Elementy zbrojenia łączącego obejmują (por. rys. 24):
A – zbrojenie wieńców, belek i podciągów, łączące ściany na poziomie stropów (zbrojenie wieńcowe),
B – zbrojenie łączące płyty stropowe oparte na ścianach lub belkach w kierunku rozpiętości płyty,
C – zbrojenie łączące płyty stropowe prostopadle do rozpiętości,
D – zbrojenie pionowe łączące słupy poszczególnych kondygnacji.

Rys. 19. Zbrojenie łączące w stropach: a) w budynkach o konstrukcji ścianowej, b) w budynkach o konstrukcji szkieletowej wg PN-B-03264:2002.
Balkony wykonuje się głównie jako żelbetowe, monolityczne lub prefabrykowane. Jeśli ich wysięg nie przekracza 1,5 metra, są często jednokierunkowo utwierdzonymi płytami żelbetowymi. Konstrukcje balkonów o większym wysięgu lub dużym obciążeniu mogą być wykonane z belek połączonych ze stropem.

Rys. 20 Przekrój poprzeczny żelbetowej płyty balkonowej [1]. 1 - pręty główne, 2 pręty rozdzielcze, 3 - ocieplenie, 4 - wieniec
Płyta balkonowa stanowi monolityczną całość z wieńcem i stropem. Żebra stropów są ułożone prostopadle do ściany, w której znajduje się wieniec.
W budynkach z poprzecznym układem ścian konstrukcyjnych, belki stropowe są równoległe do zewnętrznych ścian podłużnych. W takich przypadkach górne zbrojenie płyt balkonowych kotwi się w górnej płycie stropowej, która jest zabetonowana nad belkami oraz dodatkowo w żebrach stropu. W stropie, w obrębie płyty balkonowej, należy wykonać przynajmniej jedno żebro rozdzielcze.
Warto dodać, że takie rozwiązanie powoduje powstanie mostka cieplnego, co jest niekorzystne z punktu widzenia izolacji termicznej budynku. Korzystniejsze są rozwiązania, w których płyty balkonowe są oddzielone od stropów. W przypadku połączenia płyty balkonowej ze stropem przez wieniec, wymagana jest izolacja termiczna balkonu. Wykonuje się ją ocieplając płytę balkonową z każdej strony lub stosuje się dedykowane elementy izolacji termicznej balkonów.

Rys. 21. Nośny element izolacji termicznej do balkonów wspornikowych. Materiały firmy Schöck.
Niektóre konstrukcje balkonów wykorzystują stalowe lub żelbetowe belki, które są odpowiednio zakotwione w wieńcach lub stropach. Między belkami wykonuje się płytę Kleina lub płytę żelbetową.
Otwory w stropie
Wykonanie otworów w stropie gęstożebrowym, w zależności od układu konstrukcyjnego budynku i wielkości otworu może wymagać wykonania dodatkowych belek żelbetowych lub żelbetowych wypełnień, umożliwiających oparcie belek stropu i przeniesienie obciążeń na elementy konstrukcyjne.
Strop WPS
Płyty WPS (Wrocławska Płyta Stropowa) to płyty stropowe stosowane głównie w obiektach remontowanych i modernizowanych, zastępując np. stare stropy drewniane. WPS kojarzona może być również pod nazwą regionalną i znane jako: Łódzka Płyta Stropowa czy Warszawska Płyta Stropowa.
Strop WPS składa się z dwuteowników stalowych oraz wypełnienia w postaci zbrojonych, betonowych płyt WPS. Płyty WPS mają szerokość 40 cm i długość od 80 cm do 160 cm w module co 10 cm.

Rys. 22 Przekrój przez strop WPS [2]
Przestrzenie między belkami wypełnia się lekkimi materiałami termoizolacyjnymi, takimi jak keramzyt, styropian, wełna mineralna, poliuretan lub zasypką z żużla itp. Na położoną na płytach izolacji wykonuje się płytę betonową, stanowiącą jednocześnie podkład pod posadzkę.
Ciężar płyt WPS waha się pomiędzy 40 a 70 kg. Dzięki temu montaż może być wykonywany ręcznie — bez użycia dźwigu. Ciężar stropu WPS wynosi ok. 100 kg/m2 stropu.

Fot. 1 Zdjęcie z prac wymiany stropu na strop WPS [2]
Osadzenie belek
- do wykonania stropów z płyt WPS należy stosować belki stalowe (o przekroju dwuteowym lub ceowym)
- belki powinny być o takiej szerokości stopki, aby zapewnić odpowiednie oparcie płyt (co najmniej 4 cm)
- belki stalowe opierać należy na murze w wykutych gniazdach (wymiana stropu)
- niepotrzebne gniazda po usuniętych belkach wymienianego stropu (np. drewnianych) należy zamurować cegłą pełną
- belki należy osadzić na podlewce (poduszce) betonowej grubości minimum 15 cm
- gniazdo z belką należy wypełnić betonem
- w razie konieczności, gdy jakość muru przy gnieździe nie jest odpowiednia, należy przemurować mur z kilku warstw cegieł znajdujących się nad lub pod gniazdem
- belki stalowe powinny być owinięte podtynkową siatką drucianą Rabitza
Układanie płyt WPS
- podnoszenie płyt powinno być dokonywane w pozycji pionowej,
- dopuszczalne jest podnoszenie w pozycji wbudowania (poziomej) pod warunkiem uchwycenia ich za żeberka poprzeczne (podporowe)
- niedopuszczalne jest rzucanie płyt oraz ich składowanie i transport w pozycji odwrotnej do pozycji wbudowania
- płyty WPS osadza się na dolnych półkach dwuteowników
- górę dwuteownika należy zabezpieczyć przed korozją
- płyty stropowe WPS należy układać możliwie ściśle obok siebie i jak najbliżej dosuwając do środników dwuteownika
- styki pomiędzy skrajnymi podłużnymi żebrami płyt WPS należy wypełnić betonem,
- styki między płytami WPS, a środnikami belek należy wypełnić zaprawą cementową
- belki stropu należy obetonować, aby zwiększyć sztywność stropu
Prace końcowe
- na płytach WPS należy ułożyć wypełnienie (izolację) oraz folię PE
- na belkach wykonuje się płytę żelbetową, zbrojoną siatką
Pytania na egzamin ustny
- Jak gęsto podpiera się ryglami strop Filigran w czasie jego wykonywania, jak gęsto strop Teriva?
- Podaj zasady montażu stropu POROTHERM.
- Jak wykonuje się żebra rozdzielcze w stropach żelbetowych gęstożebrowych.
- Omówić żebro rozdzielcze w stropach gęstożebrowych. Po co się je stosuje, jakie wymiary, zasada zbrojenia.
- Omów technologię wykonania stropu Ceram 50, na którym będą usytuowane ścianki działowe.
- Zasady projektowania wieńców żelbetowych w stropów gęstożebrowych, oraz kotwienia belek w stropach belkowych?
- Scharakteryzować strop gęstożebrowy WPS
- Omówić strop gęstożebrowy i podać przykład
- Strop gęstożebrowy- omówić jak się projektuje i jak wykonuje.
- Opisać strop gęstożebrowy oraz omówić zasady projektowania.
- Strop gęstożebrowy typu np. DZ, fert i do niego jak połączyć balkon w kierunku podłużnym i poprzecznym do belek?
- Jaka jest rola wieńców ? Narysować przekrój przez ścianę zewnętrzną oraz wewnętrzną przez strop gęstożebrowy.
- Strop gęstożebrowy do zaproponowania w domku. Rodzaje, sposób liczenia elementów poszczególnych, wytyczne montażowe.
- Stropy gęstożebrowy wymienić min 2 i jeden opisać. (dopytywali o rozstawy, szalowanie, inne przykłady i dodatkowo opisać strop WPS).
- Wykonanie stropu gęstożebrowego, biorąc pod uwagę układ ścian działowych.
- W dowolnie wybranym przekroju poziomym narysować układ podparcia stropu gęstożebrowego z uwzględnieniem otworu na klatkę schodową.
- Narysuj i opisz konstrukcję dowolnego stropu gęstożebrowego.
- Jesteś kierownikiem na budowie, decydujesz się na zmianę stropu gęstożebrowego na sprężony - co robisz.
- W jaki sposób kotwimy płytę balkonową w stropach gęstożebrowych?
- Zasady zbrojenia i kotwienia prętów zbrojenia głównego płyty balkonowej ze stropem gęstożebrowym.
- Zasady konstruowania balkonów w stropach gęstożebrowych.
- Balkony - jak się projektuje i omówić zakotwienie w przypadku stropu gęstożebrowego.
- Stropy gęstożebrowy wymienić min 2 i jeden opisać. (dopytywali o rozstawy, szalowanie, inne przykłady i dodatkowo opisać strop WPS)
- Jak planuje się ściany w stropach gęstożebrowych?
- Ściany na stropach gęstożebrowych.
- Na przedstawionym rzucie pomieszczenia z balkonem i ze stropem gęstożebrowym sprawdź SGN filarka międzyokiennego.
- Zasady podstemplowania stropu gęstożebrowego Teriva, i kiedy można zdemontować stemple?
- Obciążenie liniowe wzdłuż belek stropu gęstożebrowego - co sie wtedy robi?
- Narysuj i opisz konstrukcję dowolnego stropu gęstożebrowego.
- Kształtowanie stropu gęstożebrowego.
- Metody zwiększenia nośności stropów ceramicznych i betonowych na belkach stalowych.
- Funkcje wieńca w ścianach w sytuacjach wyjątkowych.
Bibliografia
- H. Michalak, S. Pyrak, Stropy, w: „Budownictwo ogólne”, tom 3 „Elementy budynków, podstawy projektowania”, Arkady, Warszawa 2008.
- Materiały firmy Budmater, 2024, https://budmater.pl/strop-filigran/
- PN-EN 15037-1:2011/Ap1:2012 Prefabrykaty z betonu -- Belkowo-pustakowe systemy stropowe -- Część 1: Belki
- PN-EN 15037-2+A1:2011 Prefabrykaty z betonu -- Belkowo-pustakowe systemy stropowe -- Część 2: Pustaki betonowe
- PN-EN 15037-3+A1:2011 Prefabrykaty z betonu -- Belkowo-pustakowe systemy stropowe -- Część 3: Pustaki ceramiczne
19 czerwca 2024



